Back to Inductee Search

Teresa Meng

CMOS Wi-Fi

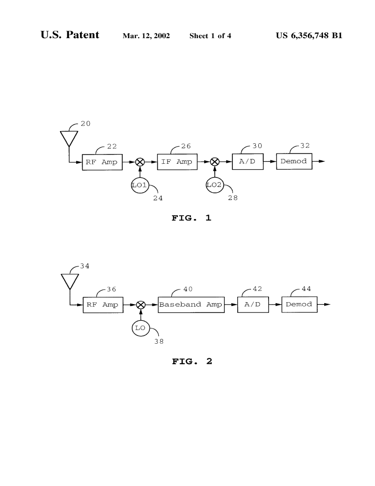
U.S. Patent No. 6,356,748
Inducted in 2026
Born Jan. 17, 1961
"Our breakthrough paved the way for today’s interconnected world, bringing wireless access to everyone, everywhere."

Teresa Meng’s groundbreaking research, engineering expertise and entrepreneurial leadership revolutionized Wi-Fi, making it faster, more energy-efficient and more affordable. As the founder of Atheros Communications, she pioneered the integration of all RF (radio-frequency) and digital communication functions on a single CMOS (complementary metal-oxide semiconductor) chip, laying the technical foundation that drove the widespread adoption of Wi-Fi.

Meng was born in Taiwan in 1961. Though she has had a lifelong interest in literature, history and philosophy, she studied electrical engineering in college. She credits her father, an industrial engineer, for his encouragement and the confidence he instilled in her to thrive in a male-dominated field of study.

In 1983, Meng earned her bachelor’s degree in electrical engineering from National Taiwan University. She then came to the U.S. for her graduate studies and enrolled at the University of California, Berkeley, where she said she found a sense of freedom. “Everything changed when I got to Berkeley,” Meng recalled in an interview with the National Inventors Hall of Fame®. “It was there that I learned I could control my future.” She earned her master’s degree in 1985 and her doctorate in 1988, both in electrical engineering and computer sciences.

In the 1990s, when Meng was an electrical engineering professor at Stanford University, wireless communications devices were slow and expensive, and they consumed a lot of power. “Governments around the world auctioned off wireless spectrum, and cellphone providers had to pay billions in license fees to operate within these frequency bands,” Meng explained. “In 1997, the first unlicensed spectrum in the 5-gigahertz band was made publicly available at no cost. This pivotal development leveled the playing field and created opportunities for new innovators. The next challenge was to ensure that this spectrum could be made both accessible and beneficial to the general public.”

Meng believed that the most effective way to develop wireless technology for the unlicensed spectrum was to integrate all communication functions using CMOS, the most cost-effective semiconductor processing technology. She achieved this by applying advanced digital signal processing techniques to combine various analog and digital components operating at 5 gigahertz on a single chip, delivering high performance and enhanced functionality.

Many people in the industry were skeptical of Meng’s idea, but she persevered. In 1998, she took a leave of absence from Stanford to found Atheros Communications, with the encouragement and support of President John Hennessy, then the dean of the School of Engineering at Stanford. “We started Atheros because we saw an opportunity to do things right, to develop a wireless technology that could connect and benefit people everywhere,” Meng explained.

Meng assembled a world-class team at Atheros with Hennessy as its chairman of the board. It accomplished in just two years what most experts had believed would take at least five. “Within two years, we reached a significant milestone by producing the world's first single-chip Wi-Fi solution, which enabled seamless integration of wireless communication into various consumer products. This breakthrough paved the way for today's interconnected world, making wireless communication more accessible and affordable than ever before,” Meng said. “Information should be accessible to everyone, everywhere, freely and without barriers.”

With their successful development of an integrated wireless communication system-on-a-chip in CMOS, Meng’s team laid the technical foundation for all future Wi-Fi devices and drove the widespread adoption of Wi-Fi. “The availability of unlicensed spectrum, the advancement of CMOS technology to handle high-frequency operations, and the necessary signal processing expertise all came together to create what I call the ‘wireless revolution.’” Meng said. “This breakthrough disproved the long-held belief that wireless communication had to be expensive, slow and limited in capacity.”

Discussing the impact of her team’s work, Meng said, “Wireless access is now an integral part of people’s daily lives, connecting everything from smartphones to smart homes. Most importantly, it enriches people’s experience of the world, where information and communication technology can help people have better lives.”

Meng served as the first CEO of Atheros Communications, which had a successful IPO in 2004 and was acquired by Qualcomm Inc. for over $3 billion in 2011. In addition to advancing Wi-Fi communications, Meng also has applied her expertise in signal processing and circuit design to biomedical applications. She has focused on neural signal processing and neural prosthetic systems, leading research into implantable biomedical devices. Her team at Stanford demonstrated the first implantable device using a wireless power transfer mechanism.

In 2013, Meng retired from Stanford as the Reid Weaver Dennis Professor of Electrical Engineering. In 2019, she became the first woman to receive the IEEE Alexander Graham Bell Medal, and in 2024, she was awarded the Marconi Prize. Passionate about education, the arts and social justice, she has served as a director of the Alliance Cultural Foundation International. She also is a strong advocate for women in technology and an inspiring role model for women engineers.

Things You Need to Know About Teresa Meng >>>

  • Open Video
  • Open Image
    U.S. Patent No. 6,356,748
  • Open Image
    Teresa Meng superhero in action with dog
  • Open Image
    Teresa Meng superhero standing with dog

Related Inductees