Back to Inductee Search

Henry Samueli

Broadband Communications

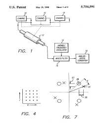
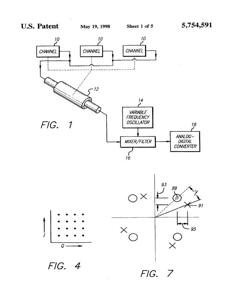
U.S. Patent No. 5,754,591
Inducted in 2026
Born Sept. 20, 1954
"We didn't push the technology out there, it was pulled out of us because the demand was so great."

Electrical engineer Henry Samueli advanced broadband communications, creating solutions that enabled affordable, high-speed digital data transmission to homes and businesses. He is the co-founder of Broadcom Inc., a global leader in wired and wireless communications.

Samueli was born Sept. 20, 1954, in Buffalo, New York. His parents were Holocaust survivors who had immigrated to the U.S. from Poland in 1950 with “virtually nothing” and relied on immigrant support organizations for assistance in securing jobs, food and housing. The family later moved to Los Angeles, and as Samueli grew up, he was an ambitious student.

When he was in middle school, Samueli was assigned to build a simple crystal radio set, but he chose to take on a much bigger challenge. He built a Heathkit shortwave radio, even teaching himself to solder in the process. “I worked every night,” Samueli said. “There were hundreds of connections that I had to solder up. It took a full semester to build it. And I literally made it my mission in life to figure out how radios work.”

Samueli enrolled at the University of California, Los Angeles (UCLA), where he earned his bachelor’s degree in 1975, his master’s degree in 1976 and his doctorate in 1980, all in electrical engineering.

Following his graduation in 1980, Samueli joined TRW Inc., where he worked on military broadband communications systems. He described it as “a tremendous opportunity to learn because you’re dealing with superhigh tech, the greatest technology at the time.” While working at TRW, he also took a part-time position teaching at UCLA. In 1985, Samueli joined the faculty full time as an assistant professor. Together with fellow professor Asad Abidi, he started a research program in UCLA’s Integrated Circuits and Systems Laboratory that would build upon his work at TRW by developing integrated circuits that could process high-speed digital communications.

Samueli’s UCLA group soon developed a variety of digital communications chips that were faster and more powerful than anything then available, and their work began attracting attention from companies interested in commercializing their technology. The first commercial collaboration between Samueli and Henry Nicholas, one of his former TRW colleagues and his first doctoral student at UCLA, was with PairGain Technologies Inc. Samueli and Nicholas developed the company’s first high-speed DSL transceiver, enabling businesses to make digital connections with local phone companies. Released in 1991, it captured 80% of the market for such devices.

In August 1991, Samueli and Nicholas launched Broadcom and began bringing in small defense contracts. “These projects funded our R&D, and we gained more and more knowledge,” Samueli explained. For its first major commercial customer, Scientific Atlanta Inc., Broadcom delivered an affordable chipset (later reengineered into a single chip) for the world’s first commercially deployed digital cable TV receiver. Samueli also realized his system-on-a-chip technologies could be applied to bring high-speed internet to consumers through cable modems connecting personal computers to the internet.

“We didn't push the technology out there, it was pulled out of us at the university because the demand was so great in the industry for a fast digital modem for consumer applications,” Samueli said. In 1995, under a contract from Intel Corp., Broadcom designed a chip that served as an Ethernet transceiver for a local-area network (LAN). Using digital signal processing, the chip moved data at 100 megabits per second – 10 times faster than existing Ethernet transceivers. Within four years, Broadcom introduced another LAN transceiver that was another 10 times faster, or one gigabit per second, and held a significant technical lead in the industry.

In April 1998, Broadcom went public, and over the next six years, the company added expertise in areas like fiber-optic networks and software as it acquired 24 fabless semiconductor firms that designed communications chips. By 2000, Broadcom’s chips could be found in 90% of all cable modems and television set-top boxes and in more than 60% of all LAN networks. The company’s advanced technologies since have benefited people and businesses worldwide. Its semiconductor devices are key to millions of communication infrastructure equipment boxes and billions of consumer electronics devices. In 2016, Broadcom was acquired by Avago Technologies Ltd. for $37 billion, and Samueli has continued to serve as board chair.

In 1999, he and his wife Susan established the Samueli Foundation, which primarily supports academic institutions and STEM education, including endowing the engineering schools that now bear the Samueli name at both UCLA and the University of California, Irvine. In honor of Samueli’s parents, they also founded the Sala and Aron Samueli Holocaust Memorial Library at Chapman University. Known for their dedication to philanthropy, the Samuelis have committed to the Giving Pledge, promising to donate most of their wealth either during their lifetimes or in their wills.

“As Broadcom stock grows, we just keep putting more and more money into the foundation. That’s not going to stop,” Samueli said. “Then, of course, there’s being on the Broadcom board and deeply involved with Broadcom — I can see that continuing for many years. Theoretically, I’m retired, but I’m as busy as ever.” In 2005, the Samuelis became owners of the National Hockey League franchise Anaheim Ducks. Samueli was elected to the National Academy of Engineering in 2003 and has received awards including the Marconi Prize in 2012, the IEEE Founders Medal in 2021 and the IEEE Medal of Honor in 2025.

Things You Need to Know About Henry Samueli >>>

  • Open Video
  • Open Image
    U.S. Patent No. 5,754,591
  • Open Image
    Henry Samueli superhero in action
  • Open Image
    Henry Samueli superhero standing

Related Inductees