Adi Shamir
RSA cryptography is the world’s most widely used public-key cryptography method for securing communication on the internet. Instrumental to the growth of e-commerce, RSA is used in almost all Internet-based transactions to safeguard sensitive data such as credit card numbers.
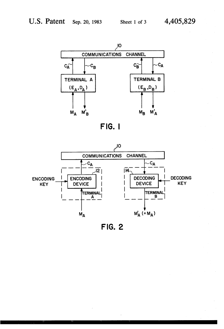
Introduced in 1977 by Massachusetts Institute of Technology colleagues Ron Rivest, Adi Shamir and Leonard Adleman, RSA — its name derived from the initials of their surnames — is a specific type of public-key cryptography, or PKC, innovated in 1976 by Whitfield Diffie, Martin Hellman and Ralph Merkle. Intrigued by their research, Rivest, with Shamir and Adleman, developed cryptographic algorithms and techniques to practically enable secure encoding and decoding of messages between communicating parties.
Unlike previous methods requiring securely exchanged keys to encrypt and decrypt messages, RSA provided a method for encryption and decryption without both parties needing a shared secret key. RSA could also mark messages with a digital signature, and allowed originators to create messages intelligible only to intended recipients; third parties intercepting such transmissions would find them indecipherable.
In 1982, the inventors founded RSA Data Security. In 1995, RSA Data Security spun out the digital certificate side of the business as VeriSign Inc.. Today, millions of copies of the RSA encryption and authentication technologies are installed worldwide.
A native of Tel Aviv Israel, Shamir earned his B.Sc. in mathematics from Tel Aviv University and his M.Sc. and Ph.D. in computer science from Israel’s Weizmann Institute, where he is now on the faculty. Shamir continues his work in cryptography and has received multiple honors, including the 2002 ACM Turing Award shared with Rivest and Adleman.
 
                     
                     
                     
                     
                    